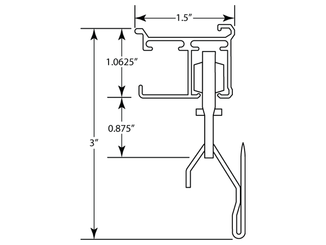
The 8100 Series drapery track – drawing
HARDWARE
The 8100 Series drapery track is Diamond Drapery’s most versatile track. Designed around our proven 8300 Series track to provide years of trouble-free use, the 8100 Series adds the capability of cord-draw controls. Capable of being wall or ceiling mounted, the 8100 Series is the only commercially-rated track designed to provide cord controls for Pinch Pleat, Accordia Fold and Ripplefold draperies. The 8100 Series tracks also can be configured for grommeted curtains or cubicle curtains if desired.






















